11月租赁融资登记金额
( 日期:2024年01月02日 浏览:次
加入收藏
)
11月租赁融资登记金额
11月租赁融资
据最新数据显示,2023年国内租赁融资事件新增数量超12万件,累计登记金额近2.4万亿元。 其中11月份的租赁融资登记仍在披露中,数量新增至5208件,目前累计登记金额884亿元,涉及主要承租人2827家: 
一、租赁事件
截至11月30日,11月份登记租赁事件累计金额已超884亿元,其中租赁融资披露的财产价值逾5亿元有19件,最大一笔出租人为国网国际融资租赁有限公司,承租人为国网四川省电力公司:
另外,依据已披露的最新租赁登记信息整理,近一年的租赁融资事件到期压力如下:
二、地区分布
依据公开信息显示,11月份国内31个省、直辖市披露租赁事件,其中河南新增租赁事件最多,11月份有4个地区登记超过500件。
从登记金额来看,11月江苏持续占据首位,已披露的累计登记租赁融资金额超百亿元。 对比四季度以来每月的登记金额流向地区分布所示:
三、行业分布
据国标行业门类统计,11月份新增租赁事件数最高为租赁和商务服务业,超过1400。另外,制造业累计登记金额更高,已超150亿元。共有18个行业分布如下:
按各行业的租赁登记金额。对比11月和10月份的登记金额流向所示:
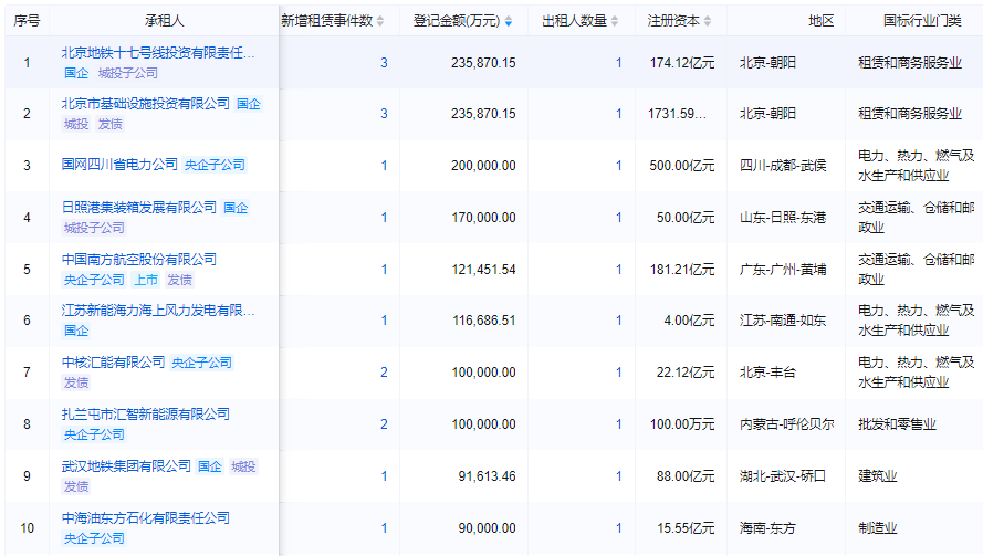
四、承租人
11月份承租人新增租赁事件TOP10:
11月份承租人租赁登记金额TOP10:
五、出租人
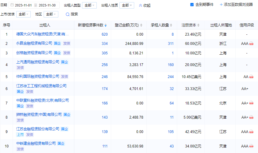
11月份出租人涉及新增租赁事件TOP10:
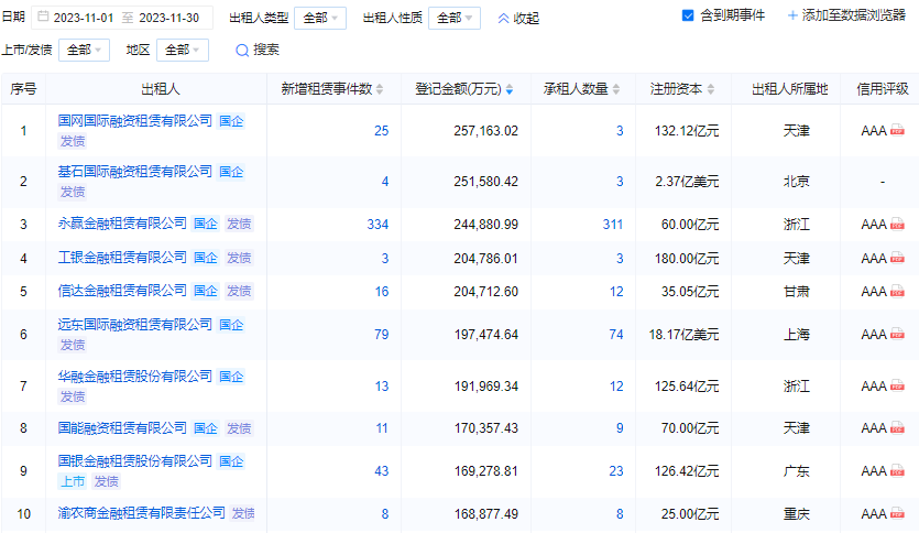
11月份出租人涉及租赁登记金额TOP10:
11月租赁融资
一、租赁事件
二、地区分布
三、行业分布
四、承租人
五、出租人
11月租赁发债
1、非银金融债、公司债、中票、短融、私募债共发行49只
数据截至2023年11月30日由企业预警通编制,最新市场信息以产品显示为准。
来源:企业预警通
声明:本文仅供学习参版权归原作者所有,如有侵权请联系告知,将在规定时间内予以删除。
上一篇:新能源车辆租赁场景的数智化探索
